据报道,特斯拉周一表示,已经签署了公司在美国的首个镍供应协议,选择了Talon金属公司在明尼苏达州的塔马拉克(Tamarack)矿山项目,因为该公司计划使用一种被认为更环保的工艺生产电动汽车电池金属。根据协议,特斯拉将在6年内购买7.5万吨镍,还将从Talon购买钴和铁矿
特斯拉将在6年内购买7.5万吨镍
据报道,特斯拉周一表示,已经签署了公司在美国的首个镍供应协议,选择了Talon金属公司在明尼苏达州的塔马拉克(Tamarack)矿山项目,因为该公司计划使用一种被认为更环保的工艺生产电动汽车电池金属。根据协议,特斯拉将在6年内购买7.5万吨镍,还将从Talon购买钴和铁矿石。
镍是地球上第六丰富的金属元素,最大的用途其一是为不锈钢增加韧性以及抗腐蚀性(不锈钢中通常有10%的镍以及18%的铬,其两者都是增加其抗腐蚀性),其二是电镀镍,用于覆盖汽车保险杠和车轮,以及摩托车和自行车等产品上,防止磨损,腐蚀。所以在大多数情况下,镍都是以合金的情况出现,而非一种独立金属。
镍基合金是指在650~1000℃高温下有较高的强度与一定的抗氧化腐蚀能力等综合性能的一类合金。按照主要性能可细分为镍基耐热合金,镍基耐蚀合金,镍基耐磨合金,镍基精密合金与镍基形状记忆合金等。镍基合金产品主要有:电炉、电熨斗、涡轮发动机涡轮盘、燃烧室、涡轮叶片、彩色电视机、通讯器材、时钟和测量卷尺中的摆锤、制造家具、具备永久磁铁性能的精细工具、航天器上使用的自动张开结构件、宇航工业用的自激励紧固件和生物医学上使用的人造心脏马达等。航天工业对安全性和可靠性的技术要求最高。该行业针对所有材料和镀层采用严格的标准,并针对飞行器零件采用严格的维护程序,而这些材料、镀层和零件需要在使用前进行详细评价和测试。镍基电镀结合了多种独特的功能特性,在航天应用中发挥着非常重要的作用。这些特性包括优良的附着性、耐腐蚀性、硬度、耐磨性、耐侵蚀性和均匀层厚,即使对于复杂零件也是如此。因此,镍、锌镍和无电解镍镀层都凭借优良性能,在航天工业中被日益广泛地使用。
据中研普华研究报告《2021-2025年中国其他非工业用镍制品(航空器用镍制品)行业投资研究咨询报告》数据显示
中国其他非工业用镍制品(航空器用镍制品)产品进口整体运行情况分析
第一节 其他非工业用镍制品(航空器用镍制品)产品进口总体规模分析
一、其他非工业用镍制品(航空器用镍制品)产品进口总额分析
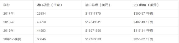
图表:2017-2020年前三季度中国其他非工业用镍制品产品进口总额情况

数据来源:通关网
图表:2017-2020年前三季度中国其他非工业用镍制品(航空器用镍制品)产品进口总额情况

数据来源:中研普华产业研究院整理
2017年,中国其他非工业用镍制品(航空器用镍制品)产品进口总额为1131.7万美元;2019年产品进口总额为1857.2万美元,同比上年增长64.02%,2020年前三季度中国其他非工业用镍制品进口总额为1275.4万美元。
未来行业投资机会在哪?如需了解更多市场具体详情可以点击查看中研普华研究报告《2021-2025年中国其他非工业用镍制品(航空器用镍制品)行业投资研究咨询报告》。
相关推荐
2021-2025年中国金属镍行业发展前景及深度调研分析报告

关注公众号
免费获取更多报告节选
免费咨询行业专家

2021-2025年中国其他非工业用镍制品(航空器用镍制品)行业投资研究咨询报告
镍是地球上第六丰富的金属元素,最大的用途其一是为不锈钢增加韧性以及抗腐蚀性(不锈钢中通常有10%的镍以及18%的铬,其两者都是增加其抗腐蚀性),其二是电镀镍,用于覆盖汽车保险杠和车轮,...
查看详情
电工钢已有上百年的历史,主要用作各种电机、变压器和镇流器铁芯,是电力、电子和军事工业中不可缺少的重要软磁合金。...
2021年CPI同比上涨0.9%国家统计局网站公布2021年12月份居民消费价格情况。2021年12月份,全国居民消费价格同比上涨1....
2021年发明专利有效量为359.7万件1月12日上午,国务院新闻办公室举行新闻发布会,介绍2021年知识产权相关工作统计数据...
《中国校服采购现状调查》发布1月11日,中国服装协会中国校服产业研究中心发布《中国校服采购现状调查》的报告(下称2...
随着信息产业的崛起,光学与电子学更加紧密结合。光学玻璃是光电技术产业的基础和重要组成部分。特别是在20世纪90年代...
“十四五”时期是我国经济社会发展的重要历史性窗口期,是全面完成小康社会建设战略目标,向全面实现社会主义现代化迈...